Ваш город:
Москва
Отправить сообщение
Вход
Войти
Регистрация
0
Каталог товаров
CF1000AZ-2
CF1000AZ-2A
CF1000AZ-3
CF800AZ-3
CF600AU-3LA
CF500AU-9L
CF400AZ-3L
Аксессуары
Внедорожные фары
2V91Y-F FOR CF1000AZ-2(2A,3)
2V91W-F FOR CF800AZ-3
191S-B FOR CF600AU-3LA
191Q FOR CF400AU-3L/3S
191R-E FOR CF500AU-9L/9S
Бренды
Производитель 1
Производитель 2
О магазине
Оплата
Доставка
Контакты
Багажные платформы каркас (F14-1)
Багажные платформы пластик (F14-2)
Рама в сборе (F03-V3)
Рама в сборе (F03-V4)
Рама в сборе
Бампер (F23)
Внешние световые приборы (F16)
Передние пластиковые детали 1 (F04-1)
Передние пластиковые детали 2 (7-дюймовая панель) (F04-2-A-V3)
Передние пластиковые детали 2 (8-дюймовая панель) (F04-2-B-V3)
Средние пластиковые детали (F04-3-V2)
Задние пластиковые детали (F04-4-V3)
Внутренние пластиковые детали (F04-5-V2)
Воздушный фильтр в сборе (F41)
Детали руля (F10-1-V2)
Рулевая система (EPS) (F10-2)
Задние амортизаторы (YiTong) (F06-2-A)
Задние амортизаторы (YuAn) (F06-2-B)
Задние амортизаторы (F06-2)
Задние колеса (F11-A)
Задние колеса (бедлок) (F11-B)
Задний привод (F28)
Задний редуктор (с разблокировкой) (F33-A)
Задняя редуктор (без разблокировки РФ) (F33-B)
Задний редуктор
Задняя подвеска (F06-1)
Посмотреть все...
Средние пластиковые детали (F04-3-V2)
Главная
Каталог
CF1000AZ-2
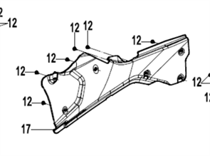
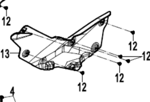
Средние пластиковые детали (F04-3-V2)
Сортировка:
Без сортировки
Популярные
Новинки
Сначала дешевле
Сначала дороже
По размеру скидки
Высокий рейтинг
Названию, по возрастанию
Названию, по убыванию
Всего найдено:
26
Артикул
Наименование
Наличие
Цена
5BWV-040018-5000
Болт M6x30
Артикул:
5BWV-040018-5000
в наличии
отсутствует
Добавить
47
руб.
TFQ004
Бумага для теплоизоляции
Артикул:
TFQ004
в наличии
отсутствует
Добавить
140
руб.
5BWV-040008-5000
Болт с внутренним шестигранником M6x20
Артикул:
5BWV-040008-5000
в наличии
отсутствует
Добавить
28
руб.
8030-040800-00001
Гайка-зажим М6
Артикул:
8030-040800-00001
в наличии
отсутствует
Добавить
47
руб.
5BWV-040007-5000
Болт с внутренним шестигранником M6x20
Артикул:
5BWV-040007-5000
в наличии
отсутствует
Добавить
35
руб.
5BWV-040015-5000
Саморез ST4.8x13 с шестиугольным узором
Артикул:
5BWV-040015-5000
в наличии
отсутствует
Добавить
23
руб.
9AWV-015003-8000
Втулка крепления облицовок
Артикул:
9AWV-015003-8000
в наличии
отсутствует
Добавить
35
руб.
9CR6-042040-20000
Комбинация противоскользящих зубов
Артикул:
9CR6-042040-20000
в наличии
отсутствует
Добавить
1 521
руб.
9AWV-042033-8002
Подножка пассажира левая
Артикул:
9AWV-042033-8002
в наличии
отсутствует
Добавить
1 193
руб.
9AWV-042025-8000
Облицовка правая крышка
Артикул:
9AWV-042025-8000
в наличии
отсутствует
Добавить
374
руб.
9AWV-042027-8000
Теплоизоляционная панель справа
Артикул:
9AWV-042027-8000
в наличии
отсутствует
Добавить
2 176
руб.
9AWV-042024-8000
Облицовка левая крышка
Артикул:
9AWV-042024-8000
в наличии
отсутствует
Добавить
351
руб.
9AWV-042028-8000
Теплоизоляционная панель слева
Артикул:
9AWV-042028-8000
в наличии
отсутствует
Добавить
1 919
руб.
5BY0-040010
Втулка резиновая
Артикул:
5BY0-040010
в наличии
отсутствует
Добавить
70
руб.
9AWV-042032-8002
Подножка правая
Артикул:
9AWV-042032-8002
в наличии
отсутствует
Добавить
6 500
руб.
30200-060810
Гайка M6
Артикул:
30200-060810
в наличии
отсутствует
Добавить
47
руб.
9AWV-042031-8001
Подножка левая
Артикул:
9AWV-042031-8001
в наличии
отсутствует
Добавить
6 500
руб.
9AWV-042022-8001-0D000
Облицовка правая (черная / ZIRCON BLACK)
Артикул:
9AWV-042022-8001-0D000
в наличии
отсутствует
Добавить
4 750
руб.
9AWV-042022-8001-0HJ00
Облицовка правая (серый / GEOMETRY GREY)
Артикул:
9AWV-042022-8001-0HJ00
в наличии
отсутствует
Добавить
4 750
руб.
9AWV-042022-8001-0RE00
Облицовка правая (кленовый камуфляж / TRUE TIMBER CAMO)
Артикул:
9AWV-042022-8001-0RE00
в наличии
отсутствует
Добавить
4 961
руб.
9AWV-042022-8001-0YD00
Облицовка правая (оранжевый / LAVA ORANGE)
Артикул:
9AWV-042022-8001-0YD00
в наличии
отсутствует
Добавить
4 750
руб.
9AWV-042021-8001-0HJ00
Облицовка левая (серый / GEOMETRY GREY)
Артикул:
9AWV-042021-8001-0HJ00
в наличии
отсутствует
Добавить
4 680
руб.
9AWV-042021-8001-0RE00
Облицовка левая (кленовый камуфляж / TRUE TIMBER CAMO)
Артикул:
9AWV-042021-8001-0RE00
в наличии
отсутствует
Добавить
5 054
руб.
9AWV-042021-8001-0YD00
Облицовка левая (оранжевый / LAVA ORANGE)
Артикул:
9AWV-042021-8001-0YD00
в наличии
отсутствует
Добавить
4 680
руб.
9AWV-042021-8001-0D000
Облицовка левая (Черный / ZIRCON BLACK)
Артикул:
9AWV-042021-8001-0D000
в наличии
отсутствует
Добавить
4 680
руб.
9AWV-042011-8001
Панель сиденья нижняя
Артикул:
9AWV-042011-8001
в наличии
отсутствует
Добавить
3 955
руб.